Бэйбики
Публикации
Своими руками
Домики для кукол, мебель. Коляски, кроватки
Кукольные домики
Детский уголок. Творим волшебство для кукол-малышек
Детский уголок. Творим волшебство для кукол-малышек
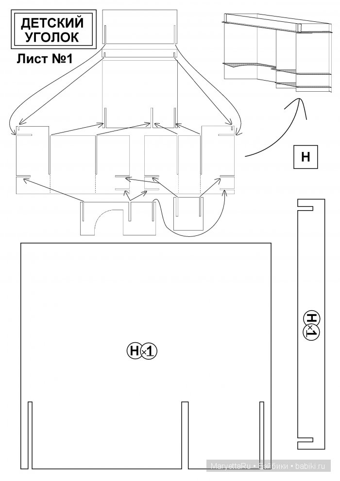
Как сделать для кукол высотой 11-17см из гофрокартона кровать-чердак со столом и шкафом в стиле 3D пазла:

1. Потребуются: гофрокартон, ножницы, нож для резки бумаги, зубочистка, трафареты, распечатанные на принтере (растянуть их во весь лист документа word (.doc) – они «заточены» под этот редактор).



2. Вырезать все трафареты, разложить перед собой, по ним из гофрокартона вырезать по одной детали. Места, указанные на трафаретах пунктиром, согнуть, предварительно проведя по ним концом ножниц по линейке.


3. Теперь берём две самые большие детали – «заднюю стенку» и «большой шкаф». «Большой шкаф» из-под зада вставляем в прорези «задней стенки».

4. Берём деталь «маленького шкафа» и тоже вставляем её из-под зада в прорези «задней стенки». Шилом намечаем расположение перекладины для вешалок в «маленьком шкафу» и крепим зубочистку: именно на неё будут вешаться плечики.

Вид сзади у этой конструкции:

5. Берём «маленькую полку» и «столешницу» и вставляем в прорези обоих шкафов.

6. Осталась кровать-чердак, состоящая из большой пластины и длинной тонкой перегородки. Их тоже вставляем в прорези.

7. Собираем кресло, вставляя соответствующие прорези друг в друга.

8. Детский уголок, в принципе, готов. Можно окрасить или оклеить его, приклеить над столом карту, картинки, фотографии, склеить ящик в шкаф, ну, и, набить мелочами и постелить сверху лоскуток-матрас.
Если соприкасающиеся стенки обоих «шкафов» будут разъезжаться, образуя щель, можно их склеить меж собой. Я их скрепила сверху канцелярской скрепкой.



А вот «уголок» в комнате:




Надеюсь, вам понравилось и сподвигло на изготовление кукольной комнатки! Я обожаю разглядывать фотографии комнаток!

Смотрите больше тем Домики для кукол своими руками на Бэйбиках
Смотрите больше топиков в разделе: Кукольные домики своими руками: фото, идеи и вдохновение

1. Потребуются: гофрокартон, ножницы, нож для резки бумаги, зубочистка, трафареты, распечатанные на принтере (растянуть их во весь лист документа word (.doc) – они «заточены» под этот редактор).



2. Вырезать все трафареты, разложить перед собой, по ним из гофрокартона вырезать по одной детали. Места, указанные на трафаретах пунктиром, согнуть, предварительно проведя по ним концом ножниц по линейке.


3. Теперь берём две самые большие детали – «заднюю стенку» и «большой шкаф». «Большой шкаф» из-под зада вставляем в прорези «задней стенки».

4. Берём деталь «маленького шкафа» и тоже вставляем её из-под зада в прорези «задней стенки». Шилом намечаем расположение перекладины для вешалок в «маленьком шкафу» и крепим зубочистку: именно на неё будут вешаться плечики.

Вид сзади у этой конструкции:

5. Берём «маленькую полку» и «столешницу» и вставляем в прорези обоих шкафов.

6. Осталась кровать-чердак, состоящая из большой пластины и длинной тонкой перегородки. Их тоже вставляем в прорези.

7. Собираем кресло, вставляя соответствующие прорези друг в друга.

8. Детский уголок, в принципе, готов. Можно окрасить или оклеить его, приклеить над столом карту, картинки, фотографии, склеить ящик в шкаф, ну, и, набить мелочами и постелить сверху лоскуток-матрас.
Если соприкасающиеся стенки обоих «шкафов» будут разъезжаться, образуя щель, можно их склеить меж собой. Я их скрепила сверху канцелярской скрепкой.



А вот «уголок» в комнате:




Надеюсь, вам понравилось и сподвигло на изготовление кукольной комнатки! Я обожаю разглядывать фотографии комнаток!

Смотрите больше тем Домики для кукол своими руками на Бэйбиках
Смотрите больше топиков в разделе: Кукольные домики своими руками: фото, идеи и вдохновение






Обсуждение (9)
Надеюсь, у вас получится лучше, чем у меня!
А ещё: когда приходит племянница, я разрешаю ей разбирать и обратно собирать эти «пазлы».